C.A 6472 - Тестер вимірювання опору заземлення
Тестер заземлення та питомого опору С.А 6472 використовується для швидкого та всебічного тесту всіх заземлених систем, збираючи всі функції вимірювання заземлення в одному приладі. При використанні з модулем С.А 6474 тестер вимірює заземлення опор ліній електропередач без їх відключення. Усі типи вимірювання заземлення та вимірювання заземлення на опорах ліній електропередач (модуль С.А 6474) - Питомий опір (методи Венера та Шлумбергера) - З'єднання заземлювачів - Опір ґрунту - Провідність/Опір
Багатофункціональність
-
- Усі методи вимірювання опору заземлення та вимірювання заземлення на опорах ліній електропередач (модуль С.А 6474)
- Питомий опір ґрунту (методи Венера та Шлумбергера)
- З'єднання заземлювачів
- Безконтактний вимір опору контуру заземлення
- Провідність /низькоомні опори
Висока ефективність:
- Широкий діапазон вимірювання, вибір оптимальної роздільної здатності
- Вибір частоти вимірювання від 41 Гц до 5 кГц
- Автоматичний розрахунок коефіцієнта з'єднання заземлювачів та питомого опору ґрунту
- Захист від сторонньої напруги до 60 В макс
- Вимірювання та аналіз заземлення опор ліній електропередач
- Запис результатів
Нове поняття виміру На відміну від традиційних тестерів заземлення, в С.А 6472 передбачений вибір частоти виміру від 41 Гц до 5078Гц, це дає можливість аналізу системи заземлення в будь-яких умовах, наприклад, при попаданні блискавки або умови сильних перешкод і наведень. Прилад має 2 режими вимірювання для легкого та зручного зняття результатів вимірювань - ручний (для просунутих користувачів) та повністю автоматичний. Автоматичний режим вимірювання – натискання однієї кнопки ініціює початок проведення вимірювання та отримання результатів. Кнопки керування приладом Вибір функції великим ротаційним перемикачем Початок/зупинка тестування – кнопка START/STOP Запис результатів вимірювання пам'яті приладу В автоматичному режимі С.А 6472 виконує вимірювання на частоті 128 Гц (за замовчуванням) і сам вибирає відповідну частоту у разі нестабільності результату або перешкод. Користувачі можуть вибрати самостійно необхідні параметри вимірювання (певна частота вимірювання, перегляд частоти, напруга між терміналами H і S тощо) і можуть отримати доступ до додаткових результатів вимірювання для більш точної інтерпретації отриманих результатів. Прилад має автоматичну сигналізацію на дисплеї про неправильне підключення або відсутність контактів
МЕТОДИ ВИМІРЮВАННЯ
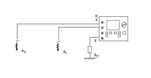
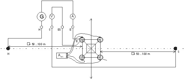
Вимір опору заземлення шляхом 3-х електродів
Для виміру опору R E Штир заземлення зазвичай використовується метод 3-х електродів. Також можна виміряти і опір допоміжних штирів заземлення – R S та R H . Користувач може вибирати частоту вимірювального сигналу в межах від 41 до 5 кгц або прилад зробить це автоматично.
Вимір опору заземлення 4-х провідним методом з 1 кліщами. Роздільна здатність 0001Ом
Особливий вимір:
Вимірювання зв'язку між заземлювачами (впливи заземлювачів один на одного)
Використовується для оцінки взаємного впливу 2 заземлювачів, не з'єднаних між собою, для чого обчислюється коефіцієнт зв'язку, який має бути якнайменше.
Оператор послідовно виконує 3 вимірювання (два звичайні вимірювання з 3 електродами, визначаючи R1 і R2 і один вимір методом 2 електродів, визначаючи R1-2) і прилад автоматично обчислить опір зв'язку:
RC = (R1 + R2 - R1-2)/2
Вимірювання опору ґрунту
Для вибору оптимального розташування електрода заземлення необхідно провести вимірювання опору ґрунту, щоб визначити місце, де воно мінімальне (мінімізація ціни конструкції).
Прилад С.А 6472 розраховує питомий опір ґрунту автоматично методом Венера (Wenner) або Шлумбергера (Schlumberger) відразу після введення відстані між штирями.
Опори RE, RES, RS та RH також можуть бути розраховані. Користувач може вибрати частоту тестового сигналу для запобігання інтерференціям або перешкодам.
Автоматичний розрахунок методом Венера (Wenner) чи Шлумбергера (Schlumberger) відразу після введення відстані між штирями.
Методи розрахунку опору ґрунту ρ
Метод Венера
Відстань між чотирма штирями однакова - d
ρw = 2p dRS-SE
Метод Шлумбергера
Відстань між внутрішніми штирями S та SE дорівнює А
Відстань між зовнішніми штирями Е та Н дорівнює 2d
ρs = (p(d2-А2/4)RS-SE)/4
Вимірювання низькоомного опору/провідності
Проводиться 4-провідним або 2-провідним методом, можлива зміна напрямку вимірювального струму. Вимірювання застосовується для перевірки:
- стану вимірювальних кабелів
- стану з'єднань між кабелями та вимірювальними штирями
- стану паралельних з'єднань між заземлювачами групи
Діапазон виміру опору: від 0001 Ом до 100 кОм
Вимірювальний струм не менший: 200 мА при R < 20 Ом
Вимірювання контуру заземлення з 2 кліщами безконтактним способом
Кліщі входять до стандартного комплекту постачання приладу. Діаметр кліщів 54мм
Вимірювання потенціалу ґрунту.
При вимірі потенціалу враховуємо залежність від відстані. Виконуючи кілька вимірів з різними відстанями (d), можна відстежити зміну потенціалу довкола системи заземлення.
Вимірювання заземлення на опорах лінії передач із кабелем заземлення (C.A 6474)
Як правило, лінії високої напруги супроводжуються кабелем заземлення або блискавкизахисту, який з'єднує всі опори ліній електропередач разом. Оскільки всі опори пов'язані цим кабелем, їхнє заземлення - паралельне. Це означає, що неможливо виміряти заземлення опори, використовуючи традиційний метод 3-х електродів, якщо кабель заземлення не від'єднаний (від'єднання кабелю - небезпечна та трудомістка робота)
Використовуючи модуль С.А 6474 прилад С.А 6472 вимірює заземлення опор, навіть якщо опора є частиною паралельної системи заземлення. Без відключення опор.
З 4 гнучкими датчиками струму Ampflex, обмотаними навколо основ опор, і частотою вимірювання до 5 кГц, можна виміряти земний імпеданс кожної опори окремо і загальний опір всіх опор разом.
Крім того, використання гнучких датчиків дозволяє долучитися до будь-якої геометрії опор.
Постачається з переносною сумкою, 1 сполучний шнур С.А 6472 - С.А 6474 6 кабелів BNC/BNC довжиною 15 м, 4 гнучкі струмові датчики AmpFLEX довжиною 5 м, 1 комплект з 12 ідентифікаційних кілець AmpFLEX, 2 кабелі 5м м чорного маркування) з затискачами на кінцях, 5 плоских /banana затискачів з перехідниками Æ 4мм, 3 затискачі, 1 калібрувальна петля, 5 посібників та 5 спеціальних міток різними мовами
докладний опис C.A 6472+6474
|
Вимір опору заземлення шляхом 3-х електродів
|
|
|
Діапазон виміру опору
|
від 001 Ом до 100 кОм
|
|
Вибір вимірювальної напруги
|
16 або 32 В ефф
|
|
Вибір частоти вимірювального сигналу
|
від 41 Гц до 5 кГц
|
|
Вимірювання RS та RH
|
від 001 Ом до 100 кОм
|
|
Стороння напруга
|
макс. 60 В пік
|
|
Вимірювання опору ґрунту
|
|
|
Діапазон виміру опору RS-SE
|
від 001 Ом до 100 кОм
|
|
Вибір вимірювальної напруги
|
16 або 32 В ефф
|
|
Вибір частоти вимірювального сигналу
|
від 41 Гц до 5 кГц
|
|
Вимірювання RE, RES, RS та RH
|
від 001 Ом до 100 кОм
|
|
Паразитна напруга
|
макс. 60 В пік
|
|
Додатково
|
Автоматичний розрахунок методом Венера (Wenner) або Шлумбергера (Schlumberger) відразу після введення відстані між штирями
|
|
Вимірювання опору/провідності
|
|
|
Методи
|
2-провідний або 4-провідний (у 2-провідному методі можлива компенсація вимірювальних проводів)
|
|
Діапазон виміру опору
|
від 0001 Ом до 100 кОм
|
|
Вимірювальний струм
|
200 мА при R < 20 Ом
|
|
Загальні дані
|
|
|
Об'єм пам'яті
|
512 записів
|
|
З'єднання
|
оптико-волоконна, USB
|
|
Габарити
|
272х250х128 мм
|
|
Маса
|
32 кг
|
|
Клас захисту
|
IP53
|
|
Електробезпека
|
CAT IV50V, IEC 61326-1 IEC 61010 IEC 61557-1-4-5
|
Комплект постачання C.A 6472 + 6474 :
1. Гнучкі струмові датчики AmpFLEX довжиною 5 м 4
2. Затискач 3
3. Вимірювач С.А 6472 1
4. Кабель (5м зеленого та 5м чорного маркування) із затискачами на кінцях 2
5. Кабель BNC/BNC довжиною 15 м 6
6. Кабель USB 1
7. Кабель заряджання батареї від мережі 220 В 1
8. Калібрувальна петля 1
9. Кліщі С182 для безконтактного вимірювання опору заземлення 2
10. Комплект з 12 ідентифікаційними кілець AmpFLEX 1
11. Модуль С.А 6474 1
12. Переносна сумка 1
13. Плоскі /banana затискачі з перехідниками 4мм 5
14. Програма експорту даних 1
15. Посібники та спеціальні мітки різними мовами 5
16. Посібник користувача на CD-ROM 1
17. Сполучний шнур С.А 6472 - С.А 6474 1
докладний опис C.A 6472+6474

